Navigation überspringen Sitemap anzeigen

System MB-45 OFFICE
Funktionales System für Büros

Charakteristik

Das MB-45 OFFICE System, dient zur Herstellung der Innenwände in denen das Tragelement der Konstruktion die gehärtete Scheibe ist. Auf Grund der Universalität und Möglichkeiten im Bereich der Bebauung von höhen Räumen, eignet sich das System ideal für leichte und zugleich solide Wände in Konferenzräumen und Büroräumen mit deutlich markierten Türen. Aus Elementen dieses System kann man fest- Wände und ganz verglaste Tür Flügel herstellen.

Das System ist gebaut auf der Basis von Rahmen im Tiefe von 45 mm, und ist deswegen mit dem Fenster-Tür Kalt System MB-45 kompatibel. Diese Systeme kann man zusammen verbinden und ausbauen. Man kann diese Systeme mit gehärteten Scheiben im Dicke von 2 bis 25 mm  ausstatten.

System MB-45 OFFICE

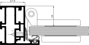
1. Querschnitt durch die Seite der Tür

2. Querschnitt durch den Pfosten

3. Schnitt durch den Pfosten und oberen Querbalken der Tür

SystemeMB-45 OFFICE kann man in beispielhafter Art bauen.

Schema A

Schema B

Schema C

Schema D

Schema E

Schema F

Schema G

Schema H

Schema I

Schema J

Schema K

Schema L

Produkthighlights

FUNKTIONALITÄT

Dieses System ist den Büroflächen, die ganz oft in Open Space auftreten, gewidmet. Man kann ihn in jeder Art und Weise verbinden in Reihe oder unter Winkel. Man kann eine Tür in belibigen Ort, einbauen. Die Scheiben können ganz durchsichtbar oder matt sein, um private Räume zu erhalten.

ÄSTHETIK

Die Konstruktion des MB-45 OFFICE System macht einen sehr leichten Eindruck. Die Türangel und Handgriffe sind direkt an die Glasscheibe eingebaut, und bilden ein Schmuckelement. Dank diesem ist das innere des Raumes nicht nur funktionell, sondern auch sehr ästhetisch.

KOMPATIBILITÄT MIT DEM SYSTEM MB-45

Das System MB-45 OFFICE ist kompatibel mit dem MB-45 System, und kann sich deswegen mit ihn verbinden und ausbauen.

REICHE FARBGEBUNG

Türen im System MB-45 OFFICE sind in ganzer RAL Farbpalette, strukturell Lack, wie auch in holzähnlicher Farbgebung erhältlich.

FARBEN

Türen im System MB-45 OFFICE sind in ganzer RAL Farbpalette, strukturell Lack, wie auch in holzähnlicher Farbgebung erhältlich.

STANDARD FARBEN RAL

SONDERFARBEN RAL

Und alle sonstigen Farben aus der RAL-Palette.

METALLIC-LACKIERUNGEN

HOLZDEKORE

Galerie

Zum Seitenanfang